Application Note (3)
-
AN10319[AN10319]
-
UART to Bluetooth interfacing[AN10307]
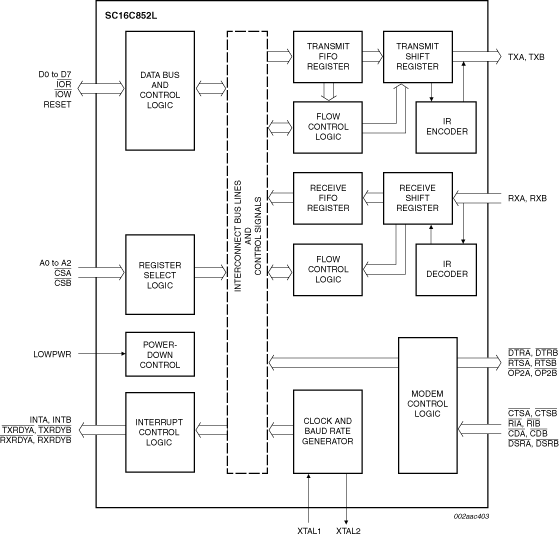
The SC16C852L is a 1.8 V, low power, dual channel Universal Asynchronous Receiver and Transmitter (UART) used for serial data communications. Its principal function is to convert parallel data into serial data and vice versa. The UART can handle serial data rates up to 5 Mbit/s. The SC16C852L is pin compatible with the SC16C652B. SC16C852L can be programmed to operate in extended mode (see Section 6.2) where additional advanced UART features are available. The SC16C852L UART provides enhanced UART functions with 128-byte FIFOs, modem control interface, DMA mode data transfer, and IrDA encoder/decoder. The DMA mode data transfer is controlled by the FIFO trigger levels and the TXRDYx and RXRDYx signals. On-board status registers provide the user with error indications and operational status. System interrupts and modem control features may be tailored by software to meet specific user requirements. An internal loopback capability allows on-board diagnostics. Independent programmable baud rate generators are provided to select transmit and receive baud rates.
The SC16C852L with Intel (16 mode) or Motorola (68 mode) bus host interface operates at 1.8 V and is available in plastic LQFP48, TFBGA36 and very small (Micro-UART) HVQFN32 packages.
|
|
|
|
|
|
|
|---|---|---|---|---|---|
|
|
|
|
|
|
|
|
|
|
|
|
|
|
|
|
|
|
|
|
|
|
|
|
|
|
|
|
|
|
|
|
|
|
|
|
|
|
|
|
|
|
|
|
|
|
|
|
|
|
|
|
|
|
|
|
|
|
|
|
|
|
|
|
|
|
|
|
|
|
Quick reference to our documentation types
6 documents
Compact List
Please wait while your secure files are loading.
Receive the full breakdown. See the product footprint and more in the eCad file.
Receive the full breakdown. See the product footprint and more in the eCad file.