Brochure (2)
-
LED Drivers Selector Guide[LED-DRIVER-SELECTOR-GUIDE]
Data Sheet (1)
Package Information (1)
Packing Information (1)
User Guide (2)
-
PCA9632 demonstration board OM13269[UM10528]
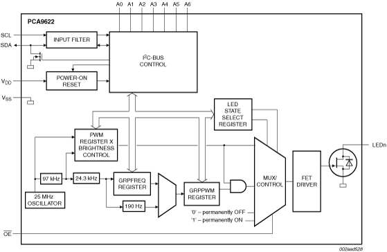
The PCA9622 is an I²C-bus controlled 16-bit LED driver optimized for voltage switch dimming and blinking 100 mA Red/Green/Blue/Amber (RGBA) LEDs. Each LED output has its own 8-bit resolution (256 steps) fixed frequency individual PWM controller that operates at 97 kHz with a duty cycle that is adjustable from 0 % to 99.6 % to allow the LED to be set to a specific brightness value. An additional 8-bit resolution (256 steps) group PWM controller has both a fixed frequency of 190 Hz and an adjustable frequency between 24 Hz to once every 10.73 seconds with a duty cycle that is adjustable from 0 % to 99.6 % that is used to either dim or blink all LEDs with the same value.
Each LED output can be off, on (no PWM control), set at its individual PWM controller value or at both individual and group PWM controller values. The PCA9622 operates with a supply voltage range of 2.3 V to 5.5 V and the 100 mA open-drain outputs allow voltages up to 40 V.
The PCA9622 is one of the first LED controller devices in a new Fast-mode Plus (Fm+) family. Fm+ devices offer higher frequency (up to 1 MHz) and more densely populated bus operation (up to 4000 pF).
The active LOW Output Enable input pin (OE) blinks all the LED outputs and can be used to externally PWM the outputs, which is useful when multiple devices need to be dimmed or blinked together without using software control.
Software programmable LED Group and three Sub Call I²C-bus addresses allow all or defined groups of PCA9622 devices to respond to a common I²C-bus address, allowing for example, all red LEDs to be turned on or off at the same time or marquee chasing effect, thus minimizing I²C-bus commands. Seven hardware address pins allow up to 126 devices on the same bus.
The Software Reset (SWRST) Call allows the controller to perform a reset of the PCA9622 through the I²C-bus, identical to the Power-On Reset (POR) that initializes the registers to their default state causing the outputs to be set HIGH (LED off). This allows an easy and quick way to reconfigure all device registers to the same condition.
The PCA9622, PCA9625 and PCA9635 software is identical and if the PCA9622 on-chip 100 mA NAND FETs do not provide enough current or voltage to drive the LEDs, then the PCA9635 with larger current or higher voltage external drivers can be used.
Quick reference to our documentation types
7 documents
Compact List
Please wait while your secure files are loading.
Receive the full breakdown. See the product footprint and more in the eCad file.
Receive the full breakdown. See the product footprint and more in the eCad file.