Design Files
Receive the full breakdown. See the product footprint and more in the eCad file.
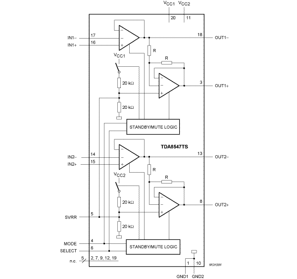
The TDA8547TS is a two channel audio power amplifier for an output power of 2 x 0.7 W with a 16 Ω load at a 5 V supply. At a low supply voltage of 3.3 V an output power of 0.6 W with an 8 W load can be obtained. The circuit contains two BTL amplifiers with a complementary PNP-NPN output stage and standby/mute logic. The operating condition of all channels of the device (standby, mute or on) is externally controlled by the MODE pin. With the SELECT pin one of the output channels can be switched in the standby condition. This feature can be used for loudspeaker selection and also reduces the quiescent current consumption. When only one channel is used the maximum output power is 1.2 W.
|
|
|
|
|
|
|
|---|---|---|---|---|---|
|
|
|
|
|
|
|
|
|
|
|
|
|
|
|
|
|
|
|
|
|
|
|
|
|
|
|
|
|
|
|
|
|
|
|
|
|
|
|
|
|
|
|
|
|
|
|
|
|
|
|
|
|
|
|
|
|
|
|
|
|
|
|
|
|
|
|
|
|
|
Quick reference to our documentation types
3 documents
Compact List
Please wait while your secure files are loading.
Receive the full breakdown. See the product footprint and more in the eCad file.
Receive the full breakdown. See the product footprint and more in the eCad file.