Data Sheet (1)
-
2 × 0.7 W BTL audio amplifier[TDA8542TS]
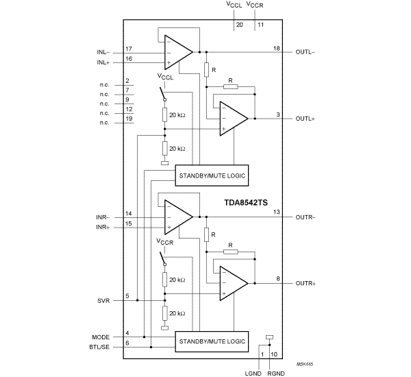
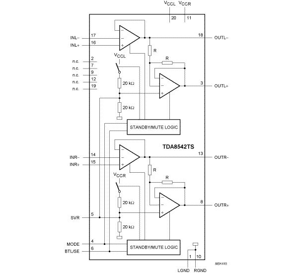
The TDA8542TS is a two channel audio power amplifier for an output power of 2 x 0.7 W with a 16 Ω load at a 5 V supply. At a low supply voltage of 3.3 V an output power of 0.6 W with an 8 Ω load can be obtained. The circuit contains two Bridge-Tied Load (BTL) amplifiers with a complementary PNP-NPN output stage and standby/mute logic. The TDA8542TS is available in a SSOP20 package.
|
|
|
|
|
|
|
|---|---|---|---|---|---|
|
|
|
|
|
|
|
|
|
|
|
|
|
|
|
|
|
|
|
|
|
|
|
|
|
|
|
|
|
|
|
|
|
|
|
|
|
|
|
|
|
|
|
|
|
|
|
|
|
|
|
|
|
|
|
|
|
|
|
|
|
|
|
|
|
|
|
|
|
|
Quick reference to our documentation types
3 documents
Compact List
Please wait while your secure files are loading.
Receive the full breakdown. See the product footprint and more in the eCad file.
Receive the full breakdown. See the product footprint and more in the eCad file.