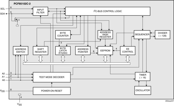
The PCF85102C-2 is a floating gate Electrically Erasable Programmable Read Only Memory (EEPROM) with 2 kbits (256 x 8-bit) non-volatile storage. By using an internal redundant storage code, it is fault tolerant to single bit errors. This feature dramatically increases the reliability compared to conventional EEPROMs. Power consumption is low due to the full CMOS technology used. The programming voltage is generated on-chip, using a voltage multiplier.
Data bytes are received and transmitted via the serial I²C-bus. Up to eight PCF85102C-2 devices may be connected to the I²C-bus. Chip select is accomplished by three address inputs (A0, A1 and A2).