Application Note (1)
-
AN10216[AN10216]
Data Sheet (1)
-
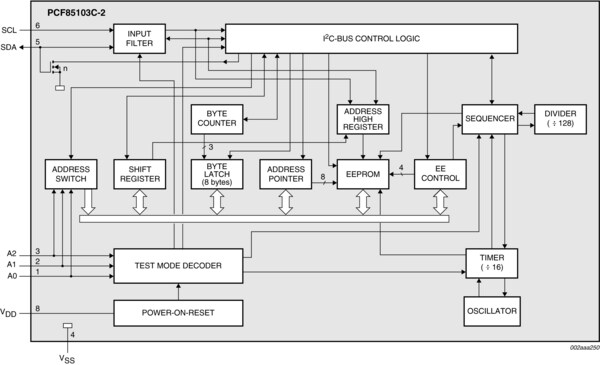
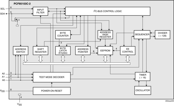
256 x 8-bit CMOS EEPROM with I2C-bus interface[PCF85103C_2]
The PCF85103C-2 is a floating gate Electrically Erasable Programmable Read Only Memory (EEPROM) with 2 kbits (256 x 8-bit) non-volatile storage. By using an internal redundant storage code, it is fault tolerant to single bit errors. This feature dramatically increases the reliability compared to conventional EEPROMs. Power consumption is low due to the full CMOS technology used. The programming voltage is generated on-chip, using a voltage multiplier.
Data bytes are received and transmitted via the serial I²C-bus. Up to eight PCF85103C-2 devices may be connected to the I²C-bus. Chip select is accomplished by three address inputs (A0, A1 and A2).
The PCF85103C-2 is identical to PCF85102C-2 except for the fixed I²C address, allowing up to eight PCF85102C-2 and eight PCF85103C-2 on the same I²C-bus.
|
|
|
|
|
|
|
|---|---|---|---|---|---|
|
|
|
|
|
|
|
|
|
|
|
|
|
|
|
|
|
|
|
|
|
|
|
|
|
|
|
|
|
|
|
|
|
|
|
|
|
|
|
|
|
|
|
|
|
|
|
|
|
|
|
|
|
|
|
|
|
|
|
|
|
|
|
|
|
|
|
|
|
|
Quick reference to our documentation types
6 documents
Compact List
Please wait while your secure files are loading.
Receive the full breakdown. See the product footprint and more in the eCad file.
Receive the full breakdown. See the product footprint and more in the eCad file.