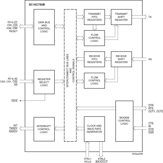
The SC16C750B is a Universal Asynchronous Receiver and Transmitter (UART) used for serial data communications. Its principal function is to convert parallel data into serial data, and vice versa. The UART can handle serial data rates up to 3 Mbit/s.
The SC16C750B is pin compatible with the TL16C750 and it will power-up to be functionally equivalent to the 16C450. Programming of control registers enables the added features of the SC16C750B. Some of these added features are the 64-byte receive and transmit FIFOs, automatic hardware flow control. The selectable auto-flow control feature significantly reduces software overload and increases system efficiency while in FIFO mode by automatically controlling serial data flow using RTS output and CTS input signals. The SC16C750B also provides DMA mode data transfers through FIFO trigger levels and the TXRDY and RXRDY signals. On-board status registers provide the user with error indications, operational status, and modem interface control. System interrupts may be tailored to meet user requirements. An internal loopback capability allows on-board diagnostics.
The SC16C750B operates at 5 V, 3.3 V and 2.5 V, the industrial temperature range and is available in plastic PLCC44, LQFP64, and HVQFN32 packages.