8-Bit Fm+ I²C-Bus 100 MA 40 V LED Driver

  • This page contains information on a product that is no longer manufactured (discontinued). Specifications and information herein are available for historical reference only.

Product Details

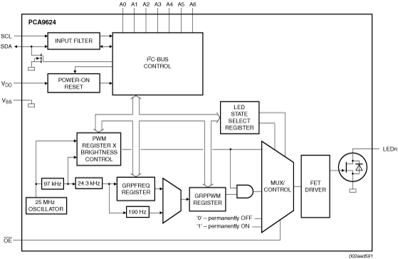
Block Diagram

Choose a diagram:

PCA9624

PCA9624 Block Diagram

PCA9624BS, PCA9624PW

Features

Key Features

  • 1 MHz Fast-mode Plus compatible I²C-bus interface with 30 mA high drive capability on SDA output for driving high capacitive buses
  • 256-step (8-bit) linear programmable brightness per LED output varying from fully off (default) to maximum brightness using a 97 kHz PWM signal
  • 256-step group brightness control allows general dimming (using a 190 Hz PWM signal) from fully off to maximum brightness (default)
  • 256-step group blinking with frequency programmable from 24 Hz to 10.73s and duty cycle from 0 % to 99.6 %
  • Eight open-drain outputs can sink between 0 mA to 100 mA and are tolerant to a maximum off-state voltage of 40 V. No input function
  • Output state change programmable on the Acknowledge or the STOP Command to update outputs byte-by-byte or all at the same time (default to 'Change on STOP')
  • Active LOW Output Enable (OE) input pin allows for hardware blinking and dimming of the LEDs
  • 7 hardware address pins allow 126 PCA9624 devices to be connected to the same I²C-bus and to be individually programmed
  • 4 software programmable I²C-bus addresses (one LED Group Call address and three LED Sub Call addresses) allow groups of devices to be addressed at the same time in any combination (for example, one register used for 'All Call' so that all the PCA9624s on the I²C-bus can be addressed at the same time and the second register used for three different addresses so that 1/3 of all devices on the bus can be addressed at the same time in a group). Software enables and disables for I²C-bus address
  • Software Reset feature (SWRST Call) allows the device to be reset through the I²C-bus
  • 25 MHz internal oscillator requires no external components
  • Internal power-on reset
  • Noise filter on SDA/SCL inputs
  • No glitch on power-up
  • Supports hot insertion
  • Low standby current
  • Operating power supply voltage (VDD) range of 2.3 V to 5.5 V
  • 5.5 V tolerant inputs on non-LED pins
  • -40 °C to +85 °C operation
  • ESD protection exceeds 2000 V HBM per JESD22-A114 and 1000 V CDM per JESD22-C101
  • Latch-up testing is done to JEDEC Standard JESD78 which exceeds 100 mA
  • Packages offered: TSSOP24, HVQFN24
  • 8 LED drivers. Each output programmable at:
    • Off
    • On
    • Programmable LED brightness
    • Programmable group dimming/blinking mixed with individual LED brightness

Buy/Parametrics










































































































Documentation

Quick reference to our documentation types

7 documents

Compact List

Data Sheet (1)
Package Information (2)
Packing Information (2)
User Guide (2)

Design Resources

Design Files

Quick reference to our design files types.

2 design files

Support

What do you need help with?