Selector Guide (1)
-
Digital Signal Processors and Controllers, SG1004[SG1004Q22009]
User Guide (1)
-
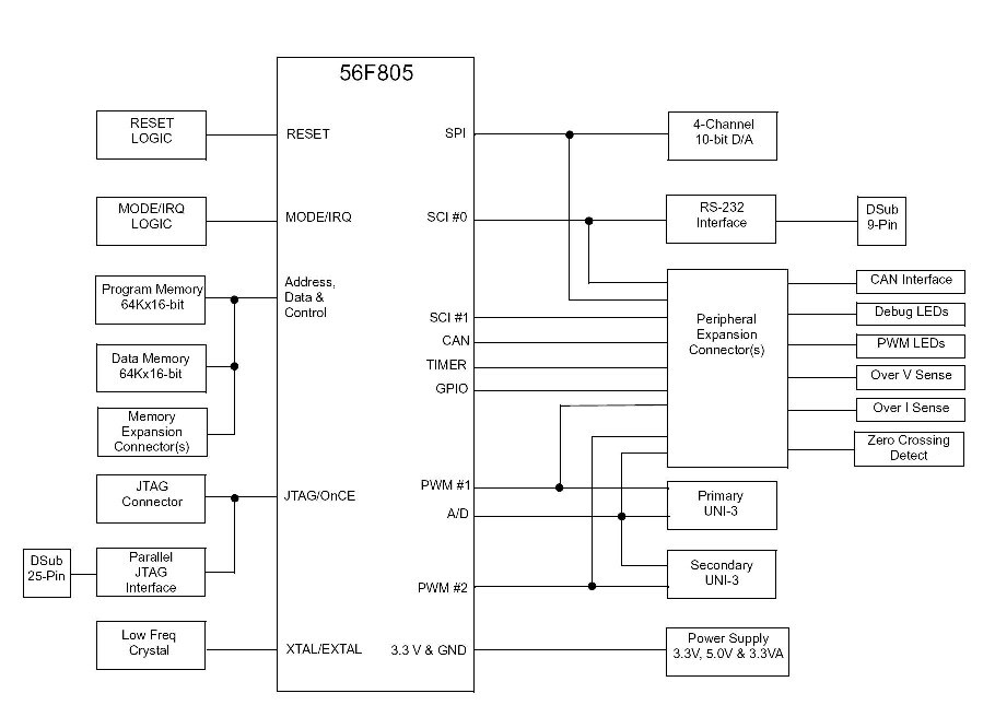
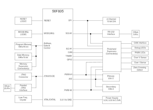
56F805 Evaluation Module Hardware User's Manual[DSP56F805EVMUM]Getting Started
ARCHIVED
The 56F805EVM kit is a low-cost kit that contains everything you need to quickly evaluate the features and capabilities of the 56F805 digital signal controller and tools. It also provides an efficient, cost-effective vehicle for hardware and software development. It can be used alone or in conjunction with Our broad range of modular motion control development hardware. The DSP56F805EVM Kit is targeted for use on PC-compatible systems running Windows 95, Windows 98, Windows 2000, Windows ME and Windows NT 4.0.
Archived content is no longer updated and is made available for historical reference only.
Quick reference to our documentation types
2 documents
Compact List
Please wait while your secure files are loading.
1-5of 6 design files
Please wait while your secure files are loading.
Quick reference to our software types.
2 software files
Note: For better experience, software downloads are recommended on desktop.
Please wait while your secure files are loading.