Application Note (1)
-
ESD and EMC sensitivity of IC[AN10853]
Data Sheet (1)
Package Information (1)
Packing Information (1)
User Guide (2)
-
PCA9632 demonstration board OM13269[UM10528]
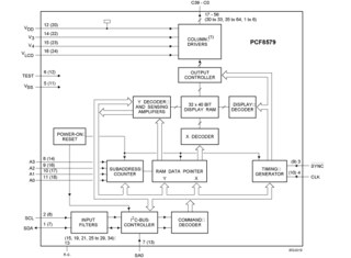
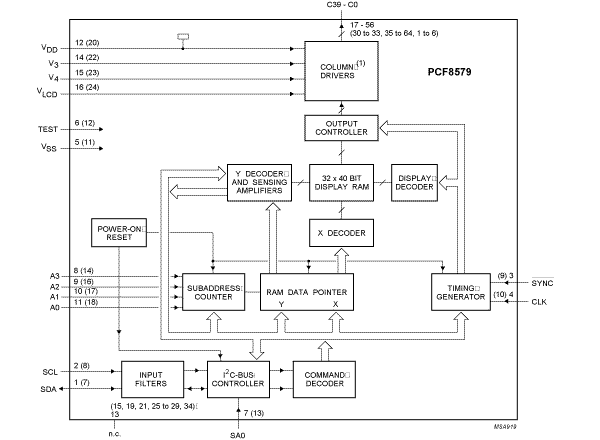
The PCF8579 is a low power CMOS LCD column driver, designed to drive dot matrix graphic displays at multiplex rates of 1:8, 1:16, 1:24 or 1:32. The device has 40 outputs and can drive 32 x 40 dots in a 32 row multiplexed LCD. Up to 16 PCF8579 can be cascaded and up to 32 devices may be used on the same I²C-bus (using the two target addresses). The device is optimized for use with the PCF8578 LCD row/column driver. Together these devices form a general purpose LCD dot matrix driver chip set, capable of driving displays of up to 40960 dots. The PCF8579 is compatible with most microcontrollers and communicates via a two-line bidirectional bus (I²C-bus). To allow partial VDD shutdown the ESD protection system of the SCL and SDA pins does not use a diode connected to VDD. Communication overhead is minimized by a display RAM with auto-incremented addressing and display bank switching.
|
|
|
|
|
|
|
|---|---|---|---|---|---|
|
|
|
|
|
|
|
|
|
|
|
|
|
|
|
|
|
|
|
|
|
|
|
|
|
|
|
|
|
|
|
|
|
|
|
|
|
|
|
|
|
|
|
|
|
|
|
|
|
|
|
|
|
|
|
|
|
|
|
|
|
|
|
|
|
|
|
|
|
|
Quick reference to our documentation types
6 documents
Compact List
Please wait while your secure files are loading.
Receive the full breakdown. See the product footprint and more in the eCad file.
Receive the full breakdown. See the product footprint and more in the eCad file.