Data Sheet (1)
Package Information (1)
Supporting Information (1)
-
Footprint for reflow soldering[SSOP-TSSOP-VSO-REFLOW]
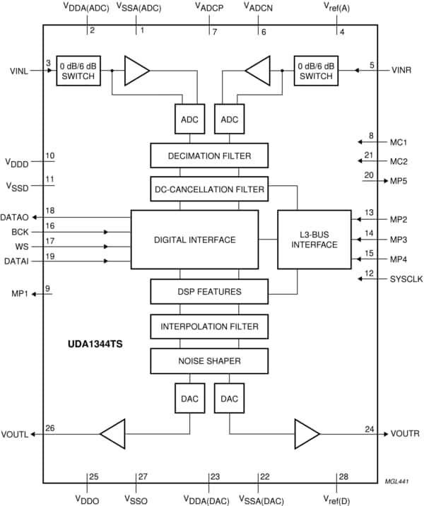
The UDA1344TS is a single-chip stereo Analog-to-Digital Converter (ADC) and Digital-to-Analog Converter (DAC) with signal processing features employing bitstream conversion techniques. The low power consumption and low voltage requirements make the device eminently suitable for use in low-voltage low-power portable digital audio equipment which incorporates recording and playback functions.
The UDA1344TS supports the I²S-bus data format with word lengths of up to 20 bits, the MSB-justified data format with word lengths of up to 20 bits and the LSB-justified data format with word lengths of 16, 18 and 20 bits. The UDA1344TS also supports three combined data formats with MSB-justified data output and LSB-justified 16, 18 and 20 bits data input.
The UDA1344TS can be controlled either via static pins or via the L3 interface. In the L3 mode the UDA1344TS has special Digital Sound Processing (DSP) features in playback mode such as de-emphasis, volume control, bass boost, treble and soft mute.
|
|
|
|
|
|
|
|---|---|---|---|---|---|
|
|
|
|
|
|
|
|
|
|
|
|
|
|
|
|
|
|
|
|
|
|
|
|
|
|
|
|
|
|
|
|
|
|
|
|
|
|
|
|
|
|
|
|
|
|
|
|
|
|
|
|
|
|
|
|
|
|
|
|
|
|
|
|
|
|
|
|
|
|
Quick reference to our documentation types
3 documents
Compact List
Please wait while your secure files are loading.
Receive the full breakdown. See the product footprint and more in the eCad file.
Receive the full breakdown. See the product footprint and more in the eCad file.