MSC8157 Application Development System

  • This page contains information on a product that is no longer manufactured (discontinued). Specifications and information herein are available for historical reference only.

Roll over image to zoom in

Product Details

Supported Devices

Products

No Longer Manufactured

Features

Memory

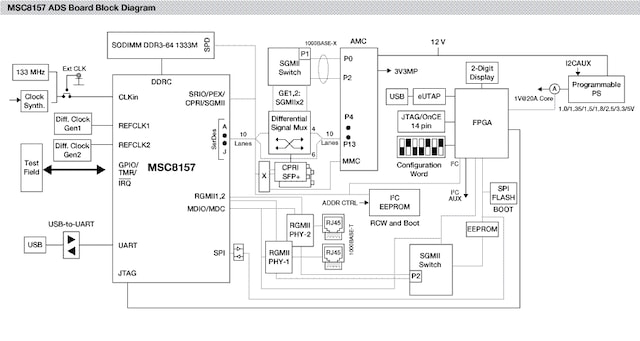
  • 1 GB of 1333 Mbit/s data rate DDR3 memory in a 64-bit SODIMM with onboard controller

Connectivity

  • Two RGMII ports (GE1 and GE2) connecting to two single Marvell 88E1111 GETH PHYs for regular board configuration
  • A 10-port SGMII switch that links two SGMII lines to two RJ-45 copper connectors
  • One UART port for USB-to-UART translation

Debug

  • On-board USB TAP controller (eUTAP)
  • JTAG/OnCE 14-pin header for any external TAP controller
  • External source over AMC (FPGA logic)

Two working configurations

  • standalone and as an AMC card in a microTCA system
  • Multiple boot and configuration options
  • Multiaccelerator platform engine (MAPLE-B2) with up to 8 special-purpose processing engines dedicated to communication processing functions (uplink/downlink, equalization, Turbo/Viterbi encoding/decoding, CRC insertion) operating in parallel with the cores for dedicated support for MIMO, MMSE, IRC and ML equalization schemes, matrix operations, and other special processing algorithms
  • High-speed serial interface multiplexed support through the AMC backplane for two serial RapidIO, two SGMII, PCI Express (MSC8157 only), and up to six Common Public Radio Interfaces, each supporting up to 24 antenna inputs. The CPRI units connect internally directly to the MAPLE-B2 for seamless processing without core intervention. In addition, the ADS supports two direct SGMII and two direct CPRI connections
  • Six SC3850 DSP cores that support multiple concurrent data streams and processes

Documentation

Quick reference to our documentation types

1 documents

Compact List

Support

What do you need help with?