Application Note (1)
-
AN10216[AN10216]
Data Sheet (1)
-
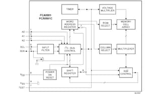
128 x 8-bit EEPROM with I2C-bus interface[PCA8581_PCA8581C]
Package Information (1)
Packing Information (1)
Supporting Information (1)
-
Footprint for reflow soldering[SO-SOJ-REFLOW]



