Data Sheet (1)
-
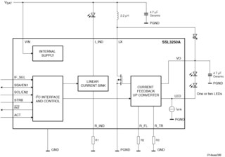
Photo flash dual LED driver[SSL3250A]
The SSL3250A is a photo flash LED driver designed for battery operated mobile devices such as mobile phones and PDAs. The boost converter delivers high performance and drives a single or dual, high brightness LED at up to 500 mA with over 85 % efficiency. The driver can be programmed to operate in Flash, Torch or Indicator / Video-on mode.
The small silicon size and the high internal switching frequency of 1.2 MHz minimize the SSL3250A footprint making it very suitable for mobile phones where space is limited, and only requiring four external components. Driving a high power flash LED within its safe operating limits was a concern when the SSL3250A was designed, so a time-out function can be programmed via the I2C interface, which will prevent overstressing the LED. Due to the specific requirements of a mobile phone, the flash current can be rapidly lowered during RF transmit by using optional external setting resistors.
|
|
|
|
|
|
|
|---|---|---|---|---|---|
|
|
|
|
|
|
|
|
|
|
|
|
|
|
|
|
|
|
|
|
|
|
|
|
|
|
|
|
|
|
|
|
|
|
|
|
|
|
|
|
|
|
|
|
|
|
|
|
|
|
|
|
|
|
|
|
|
|
|
|
|
|
|
|
|
|
|
|
|
|
Quick reference to our documentation types
2 documents
Compact List
Please wait while your secure files are loading.
Receive the full breakdown. See the product footprint and more in the eCad file.
Receive the full breakdown. See the product footprint and more in the eCad file.