Application Note (2)
-
ESD and EMC sensitivity of IC[AN10853]
-
AN10652[AN10652]
Data Sheet (1)
-
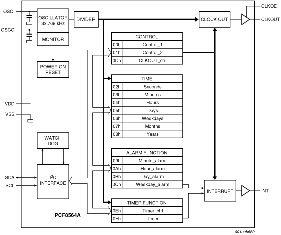
Real time clock and calendar[PCF8564A]
The PCF8564A is a CMOS real-time clock and calendar optimized for low power consumption. A programmable clock output, interrupt output and voltage low detector are also provided. All addresses and data are transferred serially via a two-line bidirectional I²C-bus. Maximum bus speed is 400 kbit/s. The built-in word address register is incremented automatically after each written or read data byte.
|
|
|
|
|
|
|
|---|---|---|---|---|---|
|
|
|
|
|
|
|
|
|
|
|
|
|
|
|
|
|
|
|
|
|
|
|
|
|
|
|
|
|
|
|
|
|
|
|
|
|
|
|
|
|
|
|
|
|
|
|
|
|
|
|
|
|
|
|
|
|
|
|
|
|
|
|
|
|
|
|
|
|
|
Quick reference to our documentation types
5 documents
Compact List
Please wait while your secure files are loading.
Receive the full breakdown. See the product footprint and more in the eCad file.
Receive the full breakdown. See the product footprint and more in the eCad file.