Package Information (1)
-
plastic ball grid array package; 452 balls[SOT1096-1]
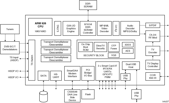
The CX2425x family offers an MPEG®-2 MP@ML decoder (Dolby Digital audio is optional), multiple transport stream inputs, a transport processor, a 32-bit RISC CPU, a 2D graphics accelerator, a TV encoder, a channel 3/4 RF modulator, a video/graphics display compositing controller, and a set of peripheral I/O ports for set-top box (STB) front and back panel connectors.
|
|
|
|
|
|
|
|---|---|---|---|---|---|
|
|
|
|
|
|
|
|
|
|
|
|
|
|
|
|
|
|
|
|
|
|
|
|
|
|
|
|
|
|
|
|
|
|
|
|
|
|
|
|
|
|
|
|
|
|
|
|
|
|
|
|
|
|
|
|
|
|
|
|
|
|
|
|
|
|
|
|
|
|
Quick reference to our documentation types
1 documents
Compact List
Please wait while your secure files are loading.
Receive the full breakdown. See the product footprint and more in the eCad file.
Receive the full breakdown. See the product footprint and more in the eCad file.