Design Files
Receive the full breakdown. See the product footprint and more in the eCad file.
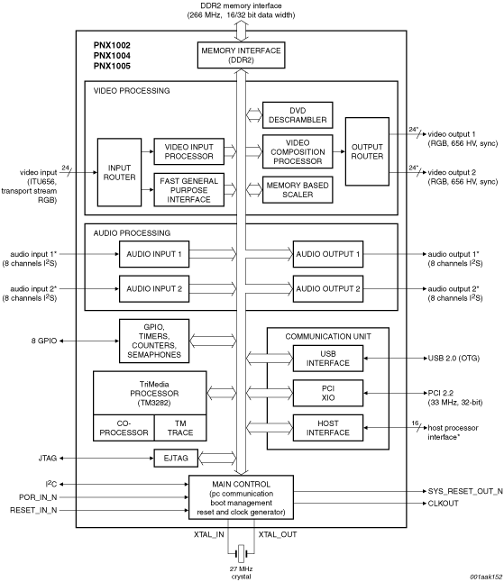
Based on the TriMedia DSP technology, the PNX1005 supports programmable signal processing for high-definition video compression, decompression, analysis and improvement. It supports multiple video compression standards, such as H.264, MPEG®-4, MJPEG and many others. The PNX1005 handles full 1080p/60 on input and output for HD 1080p picture processing. The PNX1004 is a cost-optimized version in a smaller package. The PNX1002 is an audio digital signal processor (DSP) for audio processing in both fixed and floating point, focused on audio acoustic processing. Also available are development boards for PNX1005: OM4965 is a PCI development board with HDMI input and output and 4 channel video input. OM4966 is a complete reference design for 16 channel DVR solution. OM4967 is a standalone development board with HDMI input and output, 8 channel video input, SATA, Ethernet and other interfaces. A complete Software Development Kit is available from NXP®. To receive the software, please register on www.tcshelp.com
Receive the full breakdown. See the product footprint and more in the eCad file.
Receive the full breakdown. See the product footprint and more in the eCad file.