Application Note (2)
Data Sheet (1)
-
SPI to I2C-bus interface - Archived[SC18IS600]
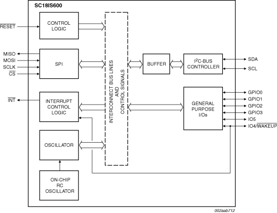
The SC18IS600 is designed to serve as an interface between the standard SPI of a host (microcontroller, microprocessor, chip set, etc.) and the serial I²C-bus. This allows the host to communicate directly with other I²C-bus devices. The SC18IS600 can operate as an I²C-bus controller-transmitter or controller-receiver. The SC18IS600 controls all the I²C-bus specific sequences, protocol, arbitration and timing.

|
|
|
|
|
|
|
|---|---|---|---|---|---|
|
|
|
|
|
|
|
|
|
|
|
|
|
|
|
|
|
|
|
|
|
|
|
|
|
|
|
|
|
|
|
|
|
|
|
|
|
|
|
|
|
|
|
|
|
|
|
|
|
|
|
|
|
|
|
|
|
|
|
|
|
|
|
|
|
|
|
|
|
|
Quick reference to our documentation types
3 documents
Compact List
Please wait while your secure files are loading.
Receive the full breakdown. See the product footprint and more in the eCad file.
Receive the full breakdown. See the product footprint and more in the eCad file.