Application Note (1)
-
AN10216[AN10216]
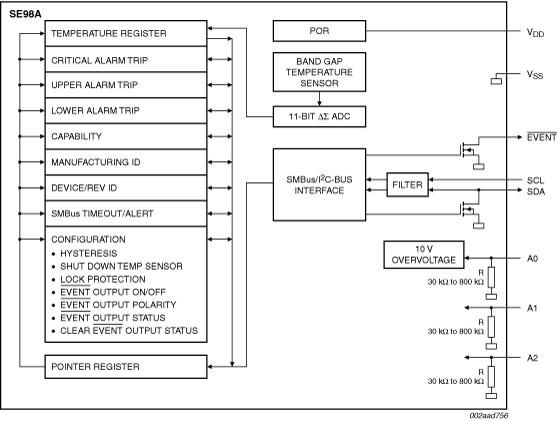
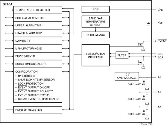
The NXP Semiconductors SE98A measures temperature from -40 ºC and +125 ºC with JEDEC Grade B ±1 ºC accuracy between +75 ºC and +95 ºC communicating via the I2C-bus/SMBus. It is typically mounted on a Dual In-Line Memory Module (DIMM) measuring the DRAM temperature in accordance with the new JEDEC (JC-42.4) Mobile Platform Memory Module Thermal Sensor Componentspecification.
The SE98A thermal sensor operates over the VDD range of 1.7 V to 3.6 V. The SE98A does not include the 2 k SPD and is designed for custom DIMM where larger SPD is required.
The Temp Sensor (TS) consists of an Analog-to-Digital Converter (ADC) that monitors and updates its own temperature readings 8 times per second, converts the reading to a digital data, and latches them into the data temperature registers. User-programmable registers, such as Shutdown or Low-power modes and the specification of temperature event and critical output boundaries, provide flexibility for DIMM temperature-sensing applications.
When the temperature changes beyond the specified boundary limits, the SE98A outputs an EVENT signal using an open-drain output that can be pulled up between 0.9 V and 3.6 V. The user has the option of setting the EVENT output signal polarity as either an active LOW or active HIGH comparator output for thermostat operation, or as a temperature event interrupt output for microprocessor-based systems. The EVENT output can even be configured as a critical temperature output.
The SE98A supports the industry-standard 2-wire I²C-bus/SMBus serial interface. The SMBus TIMEOUT function is supported to prevent system lock-ups. Manufacturer and Device ID registers provide the ability to confirm the identify of the device. Three address pins allow up to eight devices to be controlled on a single bus.
The SE98A is an improved SE98 and is comparable to the thermal sensor in the SE97 but with voltage range of 1.7 V to 3.6 V.
|
|
|
|
|
|
|
|---|---|---|---|---|---|
|
|
|
|
|
|
|
|
|
|
|
|
|
|
|
|
|
|
|
|
|
|
|
|
|
|
|
|
|
|
|
|
|
|
|
|
|
|
|
|
|
|
|
|
|
|
|
|
|
|
|
|
|
|
|
|
|
|
|
|
|
|
|
|
|
|
|
|
|
|
Quick reference to our documentation types
4 documents
Compact List
Please wait while your secure files are loading.
Receive the full breakdown. See the product footprint and more in the eCad file.
Receive the full breakdown. See the product footprint and more in the eCad file.