Application Note (4)
Data Sheet (1)
-
LCD controllers/drivers[PCF2119X]
Package Information (1)
-
Bare die: 168 bumps[OL-PCF2119X]
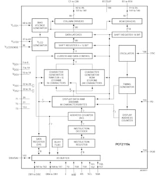
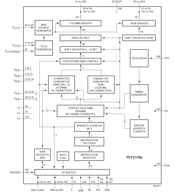
The PCF2119x is a low power CMOS LCD controller and driver, designed to drive a dot matrix LCD display of 2-lines by 16 characters or 1-line by 32 characters with 5 × 8 dot format. All necessary functions for the display are provided in a single chip, including on-chip generation of LCD bias voltages, resulting in a minimum of external components and lower system current consumption. The PCF2119x interfaces to most microcontrollers via a 4-bit or 8-bit bus or via the 2-wire I²C-bus. The chip contains a character generator and displays alphanumeric and kana (Japanese) characters.
The letter ‘x’ in PCF2119x characterizes the built-in character set. Various character sets can be manufactured on request. In addition 16 user defined symbols (5 × 8 dot format) are available.
|
|
|
|
|
|
|
|---|---|---|---|---|---|
|
|
|
|
|
|
|
|
|
|
|
|
|
|
|
|
|
|
|
|
|
|
|
|
|
|
|
|
|
|
|
|
|
|
|
|
|
|
|
|
|
|
|
|
|
|
|
|
|
|
|
|
|
|
|
|
|
|
|
|
|
|
|
|
|
|
|
|
|
|
Quick reference to our documentation types
1-10 of 11 documents
Compact List
Please wait while your secure files are loading.
Receive the full breakdown. See the product footprint and more in the eCad file.
Receive the full breakdown. See the product footprint and more in the eCad file.