LCD Row/Column Driver for Dot Matrix Graphic Displays

  • This page contains information on a product that is no longer manufactured (discontinued). Specifications and information herein are available for historical reference only.

Product Details

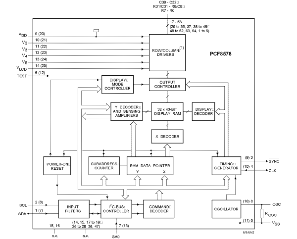
Block Diagram

Block diagram: PCF8578HT, PCF8578T

Features

System Features

  • Single chip LCD controller and driver
  • Stand-alone or may be used with up to 32 PCF8579s (40,960 dots possible)
  • 40 driver outputs, configurable for several ratios of rows/columns: 32/8, 24/16, 16/24 or 8/32
  • Selectable multiplex rates: 1:8, 1:16, 1:24 or 1:32
  • Externally selectable bias configuration, 5 or 6 levels
  • 1280-bit RAM for display data storage and scratch pad
  • Display memory bank switching
  • Auto-incremented data loading across hardware subaddress boundaries (with PCF8579)
  • Provides display synchronization for PCF8579
  • On-chip oscillator, requires only 1 external resistor
  • Power-On Reset (POR) blanks display
  • Logic voltage supply range 2.5 V to 6 V
  • Maximum LCD supply voltage 9 V
  • Low power consumption
  • I²C-bus interface
  • Compatible with most microcontrollers
  • Optimized pinning for single plane wiring in multiple device applications (with PCF8579)
  • Space saving 56-lead small outline package and 64 pin quad flat pack

Target Applications

  • Automotive information systems
  • Telecommunication systems
  • Point-of-sale terminals
  • Industrial computer terminals
  • Instrumentation

Buy/Parametrics










































































































Documentation

Quick reference to our documentation types

1-10 of 11 documents

Compact List

Application Note (1)
Brochure (1)
Data Sheet (1)
Package Information (2)
Packing Information (2)
Selector Guide (1)
Supporting Information (1)
User Guide (2)

Design Files

Support

What do you need help with?