Application Note (1)
-
AN4289, LIN Alternator Regulator Devices[AN4289]Featured
Data Sheet (1)
-
TC80310, Alternator Regulator with LIN - Data Sheet[TC80310]Featured
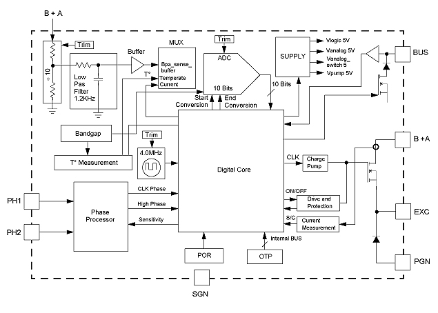
The TC80310 is designed to provide customers a complete system-on-die solution ,capable of managing the electrical parameters of an Alternator, with rotor excitation current up to 8A, using High Side Excitation technology combined with a Free Wheeling Diode. This new IC can control and diagnose the Alternator by using a standard and robust LIN 1.3 protocol. It also includes Load Response Control (LRC), Thermal Compensation combined with Thermal protection and a Self-Start operation (available in case of LIN disconnection), which are capabilites possible because of a long term NXP® background in the Alternator Regulator market.
Refer to Table 1, in the data sheet, for the factory programmed options. Contact sales for samples and ordering criteria.
Quick reference to our documentation types
2 documents
Compact List
Please wait while your secure files are loading.
Receive the full breakdown. See the product footprint and more in the eCad file.
Receive the full breakdown. See the product footprint and more in the eCad file.