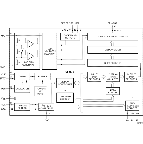
Universal LCD driver for low multiplex rates

  • This page contains information on a product that is no longer manufactured (discontinued). Specifications and information herein are available for historical reference only.

Roll over image to zoom in

Buy/Parametrics










































































































Documentation

Quick reference to our documentation types

8 documents

Compact List

Application Note (2)
Data Sheet (1)
Package Information (1)
Packing Information (1)
Supporting Information (1)
User Guide (2)

Design Files

Support

What do you need help with?