LCD Column Driver for Dot Matrix Graphic Displays

  • This page contains information on a product that is no longer manufactured (discontinued). Specifications and information herein are available for historical reference only.

See product image

Product Details

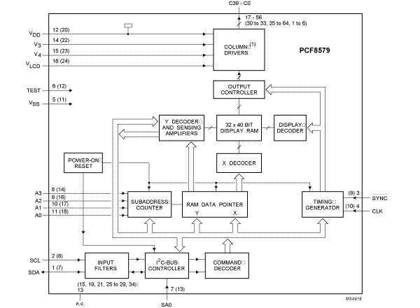
Block Diagram

Block diagram: PCF8579HT, PCF8579T

Features

System Features

  • LCD column driver
  • Used in conjunction with the PCF8578, this device forms part of a chip set capable of driving up to 40,960 dots
  • 40 column outputs
  • Selectable multiplex rates; 1:8, 1:16, 1:24 or 1:32
  • Externally selectable bias configuration, 5 or 6 levels
  • Easily cascadable for large applications (up to 32 devices)
  • 1280-bit RAM for display data storage
  • Display memory bank switching
  • Auto-incremented data loading across hardware subaddress boundaries (with PCF8578)
  • Power-On Reset (POR) blanks display
  • Logic voltage supply range 2.5 V to 6 V
  • Maximum LCD supply voltage 9 V
  • Low power consumption
  • I²C-bus interface
  • Compatible with most microcontrollers
  • Optimized pinning for single plane wiring in multiple device applications (with PCF8578)
  • Space saving 56-lead small outline package and 64-pin quad flat pack

Target Applications

  • Automotive information systems
  • Telecommunication systems
  • Point-of-sale terminals
  • Industrial computer terminals
  • Instrumentation

Documentation

Quick reference to our documentation types

9 documents

Compact List

Application Note (1)
Brochure (2)
Data Sheet (1)
Package Information (1)
Packing Information (1)
Selector Guide (1)
Supporting Information (1)
User Guide (1)

Design Files

Support

What do you need help with?