8-Bit Microcontrollers with Accelerated Two Clock 80C51 Core 2 KB 3 V Flash with 8-Bit A/D Converter

Roll over image to zoom in

Product Details

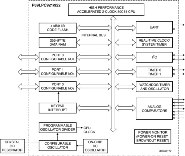
Block Diagram

Block diagram: P89LPC920FDH, P89LPC921FDH, P89LPC922FDH, P89LPC922FN

Features

Principal features
  • 2 kB byte-erasable flash code memory organized into 256-byte sectors and 16-byte pages. Single-byte erasing allows any byte(s) to be used as non-volatile data storage.
  • 256-byte RAM data memory.
  • Two 16-bit counter/timers. Timer 0 (and Timer 1 - P89LPC917) may be configured to toggle a port output upon timer overflow or to become a PWM output.
  • 23-bit system timer that can also be used as a Real-Time clock.
  • 4-input multiplexed 8-bit A/D converter/single DAC output. Two analog comparators with selectable reference.
  • Enhanced UART with fractional baud rate generator, break detect, framing error detection, automatic address detection and versatile interrupt capabilities.
  • SPI communication port (P89LPC916).
  • Internal RC oscillator option allows operation without external oscillator components. The RC oscillator (factory calibrated to ±1 %) option is selectable and fine tunable.
  • 2.4 V to 3.6 V VDD operating range. I/O pins are 5 V tolerant (may be pulled up or driven to 5.5 V).
  • Up to 14 I/O pins when using internal oscillator and reset options (P89LPC916, P89LPC917).

Additional features

  • 14-pin (P89LPC915) and 16-pin (P89LPC916, P89LPC917) TSSOP packages.
  • A high performance 80C51 CPU provides instruction cycle times of 111 ns to 222 ns for all instructions except multiply and divide when executing at 18 MHz. This is six times the performance of the standard 80C51 running at the same clock frequency. A lower clock frequency for the same performance results in power savings and reduced EMI.
  • In-Application Programming (IAP-Lite) and byte erase allows code memory to be used for non-volatile data storage.
  • Serial Flash In-Circuit Programming (ICP) allows simple production coding with commercial EPROM programmers. Flash security bits prevent reading of sensitive application programs.
  • Watchdog timer with separate on-chip oscillator, requiring no external components. The Watchdog prescaler is selectable from 8 values.
  • Low voltage brownout detect allows a graceful system shutdown when power fails. May optionally be configured as an interrupt.
  • Idle and two different power-down reduced power modes. Improved wake-up from Power-down mode (a LOW interrupt input starts execution). Typical power-down current is 1 mA (total power-down with voltage comparators disabled).
  • Active-LOW reset. On-chip power-on reset allows operation without external reset components. A reset counter and reset glitch suppression circuitry prevent spurious and incomplete resets. A software reset function is also available.
  • Programmable port output configuration options: quasi-bidirectional, open drain, push-pull, input-only.
  • Port ´input pattern match´ detect. Port 0 may generate an interrupt when the value of the pins match or do not match a programmable pattern.
  • LED drive capability (20 mA) on all port pins. A maximum limit is specified for the entire chip.
  • Controlled slew rate port outputs to reduce EMI. Outputs have approximately 10 ns minimum ramp times.
  • Only power and ground connections are required to operate the P89LPC915/916/917 when internal reset option is selected.
  • Four interrupt priority levels.
  • Five (P89LPC916), six (P89LPC915), or seven (P89LPC917) keypad interrupt inputs.
  • Second data pointer.
  • Schmitt trigger port inputs.
  • Emulation support.

Buy/Parametrics










































































































Documentation

Quick reference to our documentation types

1-10 of 14 documents

Compact List

Application Note (7)
Data Sheet (1)
Errata (3)
Package Information (1)
Packing Information (1)
User Guide (1)

Design Resources

Design Files

Quick reference to our design files types.

1 design file

Support

What do you need help with?