Data Sheet (1)
-
2 x 1.5 W BTL audio amplifier[TDA8542AT]
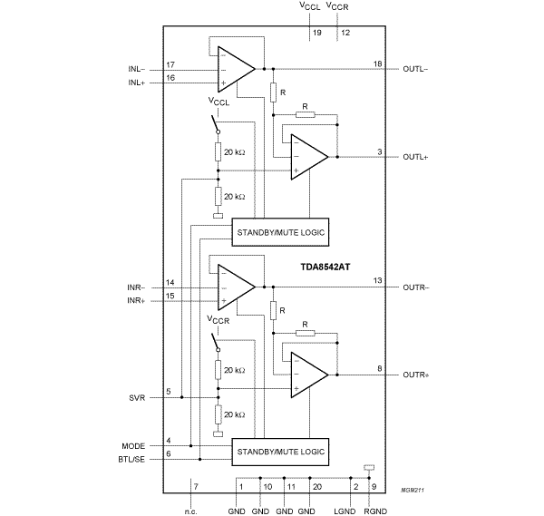
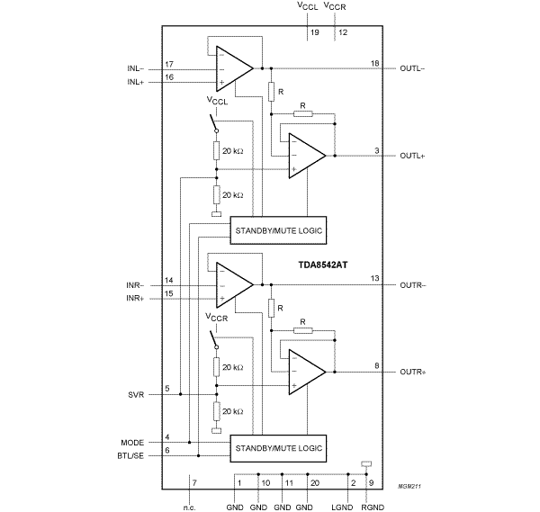
The TDA8542AT is a two channel audio power amplifier for an output power of 2 × 1.5 W with an 8 Ω load at a 6 V supply. The circuit contains two Bridge-Tied Load (BTL) amplifiers with a complementary PNP-NPN output stage and standby/mute logic. The TDA8542AT comes in a 20-pin SO package.
|
|
|
|
|
|
|
|---|---|---|---|---|---|
|
|
|
|
|
|
|
|
|
|
|
|
|
|
|
|
|
|
|
|
|
|
|
|
|
|
|
|
|
|
|
|
|
|
|
|
|
|
|
|
|
|
|
|
|
|
|
|
|
|
|
|
|
|
|
|
|
|
|
|
|
|
|
|
|
|
|
|
|
|
Quick reference to our documentation types
3 documents
Compact List
Please wait while your secure files are loading.
Receive the full breakdown. See the product footprint and more in the eCad file.
Receive the full breakdown. See the product footprint and more in the eCad file.