Universal LCD Driver for Low Multiplex Rates

  • This page contains information on a product that is no longer manufactured (discontinued). Specifications and information herein are available for historical reference only.

Product Details

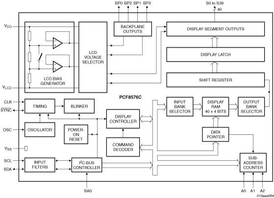
Block Diagram

PCF8576CH, PCF8576CT, PCF8576CTT, PCF8576CU

Features

Key Features

  • Single-chip LCD controller and driver
  • Versatile blinking modes
  • No external components required (even in multiple device applications)
  • Selectable backplane drive configuration: static or 2, 3, 4 backplane multiplexing
  • Selectable display bias configuration: static, 1/2 or 1/3
  • Internal LCD bias generation with voltage-follower buffers
  • 40 x 4-bit RAM for display data storage
  • Auto-incremented display data loading across device subaddress boundaries
  • Display memory bank switching in static and duplex drive modes
  • Low power consumption
  • May be cascaded for large LCD applications (up to 2560 segments possible)
  • No external components
  • Separate or combined LCD and logic supplies
  • Optimized pinning for plane wiring in both and multiple PCF8576C applications
  • Power-saving mode for extremely low power consumption in battery-operated and telephone applications

40 Segment Drives

  • Up to twenty 7-segment numeric characters
  • Up to ten 14-segment alphanumeric characters
  • Any graphics of up to 160 elements

Wide logic LCD supply range

  • From 2 V for low-threshold LCDs
  • Up to 6 V for guest-host LCDs and high-threshold twisted nematic LCDs

Buy/Parametrics










































































































Documentation

Quick reference to our documentation types

1-10 of 14 documents

Compact List

Application Note (5)
Data Sheet (1)
Package Information (3)
Packing Information (2)
Supporting Information (2)
User Guide (1)

Design Files

Support

What do you need help with?