4-Bit Fm+ I²C-Bus Low-Power LED Driver

Block Diagram

Choose a diagram:

PCA9632 BLOCK DIAGRAM

PCA9632 BLOCK DIAGRAM

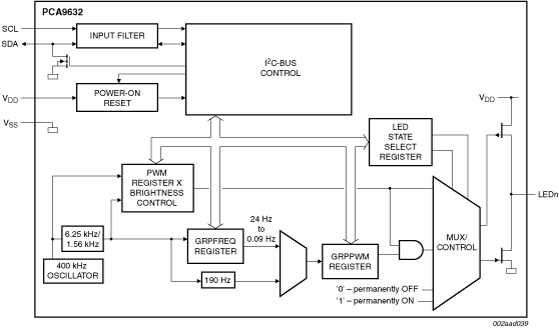
Block diagram: PCA9632DP1, PCA9632DP2, PCA9632TK, PCA9632TK2

Features

  • 40× power reduction compared to PCA9633
  • 4 LED drivers. Each output programmable at:
    • Off
    • On
    • Programmable LED brightness
    • Programmable group dimming/blinking mixed with individual LED brightness
  • 1 MHz Fast-mode Plus I²C-bus interface with 30 mA high drive capability on SDA output for driving high capacitive buses
  • 256-step (8-bit) linear programmable brightness per LED output varying from fully off (default) to maximum brightness using a 1.5625 kHz PWM signal in Individual brightness mode
  • 64-step (6-bit) linear programmable brightness for each LED output varying from fully off (default) to maximum brightness using a 6.25 kHz PWM signal in-group dimming mode
  • In group dimming mode, 16-step group brightness control allows global dimming (using a 190 Hz PWM signal) from fully off to maximum brightness (default)
  • 256-step (8-bit) linear programmable brightness per LED output varying from fully off (default) to maximum brightness using a 1.5625 kHz PWM signal in-group blinking mode
  • 64-step group blinking with frequency programmable from 24 Hz to 6 Hz and duty cycle from 0 % to 98.4 %
  • 256-step group blinking with frequency programmable from 6 Hz to 0.09 Hz (10.73s) and duty cycle from 0 % to 99.6 %
  • Four totem pole outputs (sink 25 mA and source 10 mA at 5 V) with software programmable open-drain LED outputs selection (default at high-impedance). No input function
  • 10-pin package option provides two hardware address pins allowing four devices to operate on the same bus
  • Output state change programmable on the Acknowledge or the STOP Command to update outputs byte-by-byte or all at the same time (default to ‘Change on STOP’)
  • Software Reset feature (SWRST Call) allows the device to be reset through the I²C-bus
  • 400 kHz internal oscillator requires no external components
  • Internal power-on reset
  • Noise filter on SDA/SCL inputs
  • Edge rate control on outputs
  • No glitch on power-up
  • Supports hot insertion
  • Low standby current of < 1 μA
  • Operating power supply voltage range of 2.3 V to 5.5 V
  • 5.5 V tolerant inputs
  • -40 °C to +85 °C operation
  • ESD protection exceeds 5000 V HBM per JESD22-A114 and 1000 V CDM per JESD22-C101
  • Latch-up testing is done to JEDEC Standard JESD78 which exceeds 100 mA
  • Packages offered: TSSOP8, TSSOP10, HVSON8, HVSON10

Buy/Parametrics










































































































Documentation

Quick reference to our documentation types

1-10 of 17 documents

Compact List

Application Note (1)
Brochure (3)
Data Sheet (1)
Package Information (3)
Packing Information (4)
Supporting Information (1)
User Guide (4)

Design Resources

Design Files

Quick reference to our design files types.

4 design files

Hardware

Quick reference to our board types.

2 hardware offerings

Support

What do you need help with?