
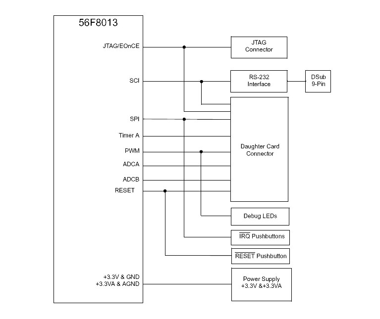
DEMO56F8013-EE
Active
MC56F8013 BD W/UNIV PS.
Kit Contains
- Installation Guide
- Demonstration Board
- CodeWarrior™ Software
- Adapter cable
- Resource CD–ROM



