5-Channel I²C-Bus Hub

Product Details

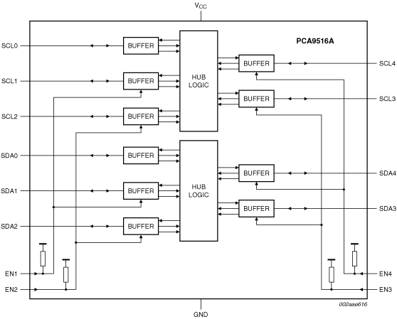
Block Diagram

Choose a diagram:

PCA9516A Block Diagram

PCA9516A Block Diagram

Block diagram: PCA9516AD, PCA9516APW

Features

Key Features

  • 5 channel, bidirectional buffer
  • I²C-bus and SMBus compatible
  • Active HIGH individual repeater enable input
  • Open-drain input/outputs
  • Lock-up free operation
  • Supports arbitration and clock stretching across the repeater
  • Accommodates Standard-mode and Fast-mode I²C-bus devices and multiple controllers
  • Powered-off high-impedance I²C-bus pins
  • Operating supply voltage range of 2.3 V to 3.6 V
  • 5.5 V tolerant I²C-bus and enable pins
  • 0 Hz to 400 kHz clock frequency1
  • ESD protection exceeds 2000 V HBM per JESD22-A114, 200 V MM per JESD22-A115, and 1000 V CDM per JESD22-C101
  • Latch-up testing is done to JEDEC Standard JESD78 which exceeds 100 mA
  • Packages offered: SO16 and TSSOP16
  • The maximum system operating frequency may be less than 400 kHz because of the delays added by the repeater

Buy/Parametrics










































































































Documentation

Quick reference to our documentation types

1-10 of 14 documents

Compact List

Application Note (4)
Brochure (3)
Data Sheet (1)
Package Information (1)
Packing Information (1)
Supporting Information (1)
User Guide (3)

Design Files

Quick reference to our design files types.

2 design files

Engineering Services

2 engineering services

To find additional partner offerings that support this product, visit our Partner Marketplace.

Support

What do you need help with?