Universal LCD driver for low multiplex rates

  • This page contains information on a product that is not recommended for new designs.

Product Details

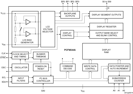
Block Diagram

Block diagram: PCF8534AH, PCF8534AHL, PCF8534AU

Features

  • AEC-Q100 compliant (PCF8534AH/1) for automotive applications
  • Single-chip LCD controller and driver
  • Selectable backplane drive configurations: static or 2, 3, or 4 backplane multiplexing
  • 60 segment outputs allowing to drive:
    • 30 7-segment numeric characters
    • 15 14-segment alphanumeric characters
    • Any graphics of up to 240 elements
  • Cascading supported for larger applications
  • 60 x 4-bit display data storage RAM
  • Wide LCD supply range: from 2.5 V for low threshold LCDs up to 6.5 V for high threshold twisted nematic LCDs
  • Internal LCD bias generation with voltage follower buffers
  • Selectable display bias configurations: static, 1/2, or 1/3
  • Wide logic power supply range: from 1.8 V to 5.5 V
  • LCD and logic supplies may be separated
  • Low power consumption
  • 400 kHz I²C-bus interface
  • No external components required
  • Display memory bank switching in static and duplex drive modes
  • Versatile blinking modes
  • Silicon gate CMOS process

Buy/Parametrics










































































































Documentation

Quick reference to our documentation types

1-10 of 11 documents

Compact List

Application Note (5)
Brochure (1)
Data Sheet (1)
Package Information (1)
User Guide (2)
White Paper (1)

Design Files

Support

What do you need help with?