Universal LCD Driver for Low Multiplex Rates

Product Details

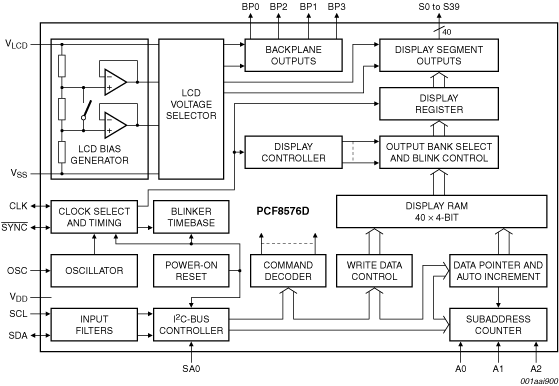
Block Diagram

Block diagram: PCF8576DH, PCF8576DT, PCF8576DU

Features

  • AEC-Q100 compliant (PCF8576DT/S400/2) for automotive applications
  • Single chip LCD controller and driver
  • Selectable backplane drive configuration: static or 2, 3, 4 backplane multiplexing
  • Selectable display bias configuration: static, 1/2, or 1/3
  • Internal LCD bias generation with voltage-follower buffers
  • 40 segment drives:
    • Up to 20 7-segment numeric characters
    • Up to 10 14-segment alphanumeric characters
    • Any graphics of up to 160 elements
  • 40 × 4-bit RAM for display data storage
  • Auto-incremented display data loading across device subaddress boundaries
  • Display memory bank switching in static and duplex drive modes
  • Versatile blinking modes
  • Independent supplies possible for LCD and logic voltages
  • Wide power supply range: from 1.8 V to 5.5 V
  • Wide logic LCD supply range:
    • From 2.5 V for low-threshold LCDs
    • Up to 6.5 V for high-threshold twisted nematic LCDs
  • Low power consumption
  • 400 kHz I²C-bus interface
  • May be cascaded for large LCD applications (up to 2560 elements possible)
  • No external components required
  • Compatible with chip-on-glass and chip-on-board technology
  • Manufactured in silicon gate CMOS process

Buy/Parametrics










































































































Documentation

Quick reference to our documentation types

1-10 of 15 documents

Compact List

Application Note (5)
Brochure (2)
Data Sheet (1)
Package Information (2)
Packing Information (1)
Selector Guide (1)
User Guide (2)
White Paper (1)

Design Files

Engineering Services

2 engineering services

To find additional partner offerings that support this product, visit our Partner Marketplace.

Support

What do you need help with?