Application Note (3)
Data Sheet (1)
Package Information (1)
Packing Information (1)
Selector Guide (1)
-
LCD Display Driver Solutions - Selector Guide[LCDDISDRSOLBR]
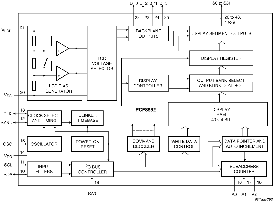
The PCF8562 is a peripheral device which interfaces to almost any Liquid Crystal Display (LCD) with low multiplex rates. It generates the drive signals for any static or multiplexed LCD containing up to four backplanes and up to 32 segments. The PCF8562 is compatible with most microcontrollers and communicates via the two-line bidirectional I²C-bus. Communication overheads are minimized by a display RAM with auto-incremented addressing, by hardware subaddressing and by display memory switching (static and duplex drive modes).
PCF8562TT should not be used for new designs. Recommended replacement: PCF85162T

|
|
|
|
|
|
|
|---|---|---|---|---|---|
|
|
|
|
|
|
|
|
|
|
|
|
|
|
|
|
|
|
|
|
|
|
|
|
|
|
|
|
|
|
|
|
|
|
|
|
|
|
|
|
|
|
|
|
|
|
|
|
|
|
|
|
|
|
|
|
|
|
|
|
|
|
|
|
|
|
|
|
|
|
Quick reference to our documentation types
8 documents
Compact List
Please wait while your secure files are loading.
Receive the full breakdown. See the product footprint and more in the eCad file.
Receive the full breakdown. See the product footprint and more in the eCad file.
2 engineering services
There are no results for this selection.
To find additional partner offerings that support this product, visit our Partner Marketplace.