Application Note (1)
-
TDA5051A ASK power line modem[AN10903]
Data Sheet (1)
-
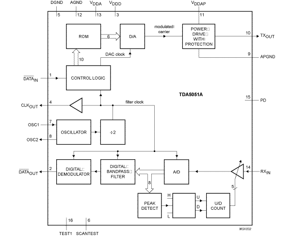
Home automation modem[TDA5051A]
The TDA5051A is a modem IC, specifically dedicated to ASK transmission by means of the home power supply network, at 600 baud or 1200 baud data rate. It operates from a single 5 V supply.

Choose a diagram:
Note: To see the product features close this window.
|
|
|
|
|
|
|
|---|---|---|---|---|---|
|
|
|
|
|
|
|
|
|
|
|
|
|
|
|
|
|
|
|
|
|
|
|
|
|
|
|
|
|
|
|
|
|
|
|
|
|
|
|
|
|
|
|
|
|
|
|
|
|
|
|
|
|
|
|
|
|
|
|
|
|
|
|
|
|
|
|
|
|
|
Quick reference to our documentation types
7 documents
Compact List
Please wait while your secure files are loading.
Receive the full breakdown. See the product footprint and more in the eCad file.
Receive the full breakdown. See the product footprint and more in the eCad file.