System Basis Chip with High Speed CAN

Roll over image to zoom in

Product Details

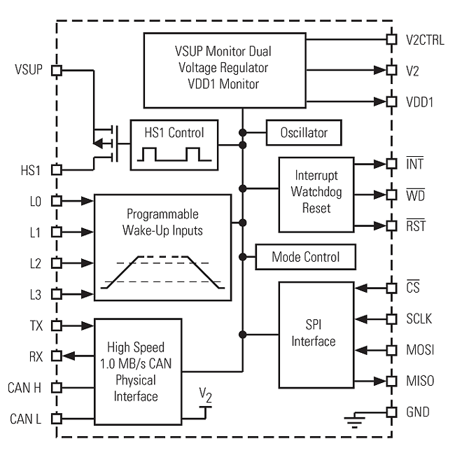
Block Diagram

MC33989 BD

 MC33989 BD

Features

  • Low-drop voltage regulator with current limiting,over temperature pre-warning, and output monitoring with reset
  • Adjustable external series pass PNP regulator
  • Normal, standby, stop and sleep modes separate from CAN interface modes
  • 150 mA switched V BAT output for control of external circuitry
  • Four external wake-up inputs, associated with switched V BAT
  • Low standby and sleep current
  • V BAT monitoring and V BAT failure detection
  • 40 V maximum transient voltage
  • Software programmable watch-dog window, interrupt, and reset
  • Multiple wake-up modes
  • SPI interface to MCU
  • Utility for HS1 Vbat switch allowing drive of external switches pull up resistors or relays

Product Longevity Program

  • This product is included in the NXP Product Longevity Program ensuring a stable supply of products for your embedded designs. The MC33989 is included in the 15-year program

Buy/Parametrics










































































































Documentation

Quick reference to our documentation types

5 documents

Compact List

Application Note (2)
Data Sheet (1)
Errata (1)
Package Information (1)

Design Files

Engineering Services

4 engineering services

To find additional partner offerings that support this product, visit our Partner Marketplace.

Support

What do you need help with?