I2C-Bus Controller

Block Diagram

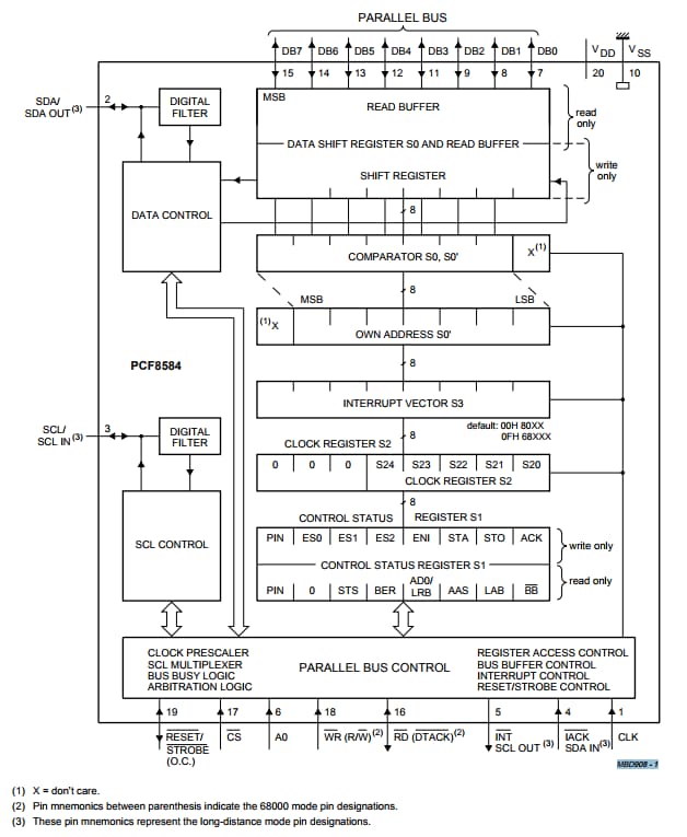
PCF8584 Block Diagram

PCF8584 Block Diagram

Features

Key Features

  • Parallel-bus to I²C-bus protocol converter and interface
  • Compatible with most parallel-bus microcontrollers/microprocessors including 8049, 8051, 6800, 68000 and Z80
  • Both controller and target functions
  • Automatic detection and adaption to bus interface type
  • Programmable interrupt vector
  • Multi-controller capability
  • I²C-bus monitor mode
  • Long-distance mode (4-wire)

Operating Supply Voltage

  • 4.5 to 5.5 V

Operating Temperature Range

  • -40 to +85 °C

Buy/Parametrics










































































































Documentation

Quick reference to our documentation types

1-10 of 13 documents

Compact List

Application Note (7)
Brochure (1)
Data Sheet (1)
Package Information (1)
Packing Information (1)
Training Presentation (1)
User Guide (1)

Design Files

Engineering Services

2 engineering services

To find additional partner offerings that support this product, visit our Partner Marketplace.

Support

What do you need help with?