Universal LCD Driver for Low Multiplex Rates

Product Details

Block Diagram

Choose a diagram:

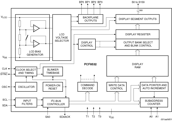
PCF8532 Block Diagram

PCF8532 Block Diagram

Block diagram: PCF8532U

Features

  • Single-chip LCD controller and driver for up to 640 elements
  • Selectable backplane drive configuration: static or 2, 3 or 4 backplane multiplexing
  • 160 segment drives:
    • Up to 80 7-segment numeric characters
    • Up to 42 14-segment alphanumeric characters
    • Any graphics of up to 640 elements
  • May be cascaded for large LCD applications (up to 5120 elements possible)
  • 160 × 4-bit RAM for display data storage
  • Software programmable frame frequency in steps of 5 Hz in the range of 60 Hz to 90 Hz
  • Wide LCD supply range: from 1.8 V for low threshold LCDs and up to 8.0 V for guest-host LCDs and high threshold (automobile) twisted nematic LCDs
  • Internal LCD bias generation with voltage-follower buffers
  • Selectable display bias configuration: static, 1/2 or 1/3
  • Wide power supply range: from 1.8 V to 5.5 V
  • LCD and logic supplies may be separated
  • Low power consumption, typical: IDD = 4 μA, IDD(LCD) = 30 μA
  • 400 kHz I²C-bus interface
  • Auto-incremental display data loading across device subaddress boundaries
  • Versatile blinking modes
  • Compatible with Chip-On-Glass (COG) technology
  • Two sets of backplane outputs for optimal COG configurations of the application
  • Display memory bank switching in static and duplex drive modes
  • No external components required
  • Manufactured in silicon gate CMOS process

Buy/Parametrics










































































































Documentation

Quick reference to our documentation types

10 documents

Compact List

Application Note (5)
Data Sheet (1)
Package Information (1)
Selector Guide (1)
User Guide (1)
White Paper (1)

Design Files

Engineering Services

2 engineering services

To find additional partner offerings that support this product, visit our Partner Marketplace.

Support

What do you need help with?