5 V, 2.2 V and 2.5 V dual UART, 5 Mbit/s (max.), with 64-byte FIFOs

Product Details

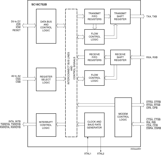
Block Diagram

SC16C752BIB48, SC16C752BIBS

Features

Key Features

  • Pin compatible with SC16C2550 with additional enhancements
  • Up to 5 Mbit/s baud rate (at 3.3 V and 5 V; at 2.5 V maximum baud rate is 3 Mbit/s)
  • 64-byte transmit FIFO
  • 64-byte receive FIFO with error flags
  • Programmable and selectable transmit and receive FIFO trigger levels for DMA and interrupt generation
  • Optional data flow resume by Xon any character
  • DMA signalling capability for both received and transmitted data
  • Supports 5 V, 3.3 V and 2.5 V operation
  • 5 V tolerant on input only pins1
  • Software selectable baud rate generator
  • Prescaler provides additional divide-by-4 function
  • Industrial temperature range (–40 °C to +85 °C)
  • Pin and software compatible with SC16C752, TL16C752
  • Fast data bus access time
  • Programmable sleep mode
  • False start bit detection
  • Complete status reporting capabilities in both normal and sleep mode
  • Line break generation and detection
  • Internal test and loopback capabilities
  • Fully prioritized interrupt system controls
  • Modem control functions (CTS, RTS, DSR, DTR, RI, and CD)

Software/Hardware Flow Control

  • Programmable Xon/Xoff characters
  • Programmable auto-RTS and auto-CTS

Programmable Serial Interface

  • 5-bit, 6-bit, 7-bit, or 8-bit characters
  • Even, odd, or no parity bit generation and detection
  • 1, 1.5, or 2 stop bit generation

Buy/Parametrics










































































































Documentation

Quick reference to our documentation types

1-10 of 21 documents

Compact List

Application Note (14)
Brochure (1)
Data Sheet (1)
Package Information (1)
Packing Information (3)
Supporting Information (1)

Design Files

Engineering Services

3 engineering services

To find additional partner offerings that support this product, visit our Partner Marketplace.

Support

What do you need help with?