Ultra-Reliable MPC563xM for Automotive and Industrial Engine Management
Design Files
Receive the full breakdown. See the product footprint and more in the eCad file.
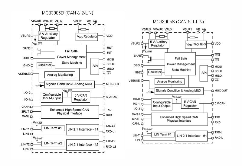
The NXP MC33905 is part of a second generation family of system basis chips, combining multiple features and enhanced module design.

|
|
|
|
|
|
|
|---|---|---|---|---|---|
|
|
|
|
|
|
|
|
|
|
|
|
|
|
|
|
|
|
|
|
|
|
|
|
|
|
|
|
|
|
|
|
|
|
|
|
|
|
|
|
|
|
|
|
|
|
|
|
|
|
|
|
|
|
|
|
|
|
|
|
|
|
|
|
|
|
|
|
|
|
Quick reference to our documentation types
10 documents
Compact List
Please wait while your secure files are loading.
Receive the full breakdown. See the product footprint and more in the eCad file.
Receive the full breakdown. See the product footprint and more in the eCad file.
1-5 of 13 hardware offerings













Quick reference to our software types.
1 software file
Note: For better experience, software downloads are recommended on desktop.
Please wait while your secure files are loading.
4 engineering services
There are no results for this selection.
To find additional partner offerings that support this product, visit our Partner Marketplace.