Kinetis® KL2x-72/96 MHz, USB Ultra-Low-Power Microcontrollers (MCUs) based on Arm® Cortex®-M0+ Core
Design Files
Receive the full breakdown. See the product footprint and more in the eCad file.
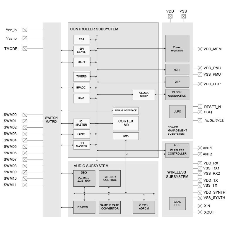
The NxH3670 constitutes a highly integrated, single-chip ultra-low-power 2.4 GHz wireless transceiver with embedded MCU (Integrated Arm® Cortex®-M0 processor), targeted at wireless audio streaming for gaming headphones, delivering low latency audio and ultra-low power consumption.
The NxH3670 runs a proprietary wireless audio streaming protocol which has been optimized for wireless gaming headset applications, providing high-quality forward audio streaming at low latency (<20ms) combined with a simultaneous voice microphone backchannel. Additionally, a wireless bidirectional data channel is available.
While primarily designed for headsets, this solution can also enable wireless audio streaming for household and office devices like soundbars, wireless speakers, wireless Subwoofers and more.
Overall, the NxH3670 delivers a small form factor with long battery life while reducing overall weight and size.
| Description | Features | Applications |
|---|---|---|
| The WB9770-00 module from JORJIN is a wireless audio module targeting at wireless audio streaming for hearables, wireless headsets and headphones applications. This module is based on NXP NXH3670 and KL27. |
|
Wireless gaming / communication headsets
|
|
|
|
|
|
|
|
|---|---|---|---|---|---|
|
|
|
|
|
|
|
|
|
|
|
|
|
|
|
|
|
|
|
|
|
|
|
|
|
|
|
|
|
|
|
|
|
|
|
|
|
|
|
|
|
|
|
|
|
|
|
|
|
|
|
|
|
|
|
|
|
|
|
|
|
|
|
|
|
|
|
|
|
|
Quick reference to our documentation types
8 documents
Compact List
Please wait while your secure files are loading.
Receive the full breakdown. See the product footprint and more in the eCad file.
Receive the full breakdown. See the product footprint and more in the eCad file.
Quick reference to our software types.
1 software file
Note: For better experience, software downloads are recommended on desktop.
Please wait while your secure files are loading.
1 software offerings
To find additional partner offerings that support this product, visit our Partner Marketplace.
1-5 of 9 engineering services
There are no results for this selection.
To find additional partner offerings that support this product, visit our Partner Marketplace.
1 trainings