
P2020RDB-PCA
No Longer Manufactured
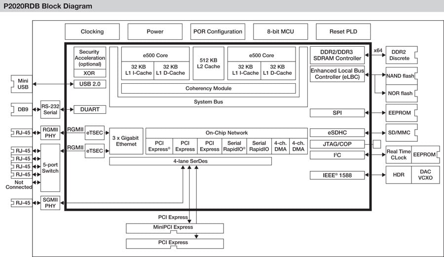
QorIQ P2020 Reference Design Board.
The NXP® P2020RDB is a highly-integrated reference design board that can help shorten your time to market.

QorIQ P2020 Reference Design Board.
| Distributor | Region | Inventory | Inventory Date | Order |
|---|
Upon selection of a preferred distributor, you will be directed to their web site to place and service your order. Please be aware that distributors are independent businesses and set their own prices, terms and conditions of sale. NXP makes no representations or warranties, express or implied, about distributors, or the prices, terms and conditions of sale agreed upon by you and any distributor.
Quick reference to our documentation types
2 documents
Compact List
Please wait while your secure files are loading.
Quick reference to our software types.
1 software file
Note: For better experience, software downloads are recommended on desktop.
Please wait while your secure files are loading.
1 software offerings
To find a complete list of our partners that support this product, please see our Partner Marketplace.
1 trainings
To find a complete list of our partners that support this product, please see our Partner Marketplace.