4-Bit I²C-Bus and SMBus I/O Port

Product Details

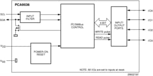
Block Diagram

Choose a diagram:

PCA9536

PCA9536 Block Diagram

PCA9536D, PCA9536DP, PCA9536TK

Features

Key Features

  • 4-bit I²C-bus GPIO
  • Operating power supply voltage range of 2.3 V to 5.5 V
  • 5 V tolerant I/Os
  • Polarity Inversion register
  • Low standby current
  • Noise filter on SCL/SDA inputs
  • No glitch on power-up
  • Internal power-on reset
  • 4 I/O pins which default to 4 inputs with 100 kΩ internal pull-up resistor
  • 0 Hz to 400 kHz clock frequency
  • ESD protection exceeds 2000 V HBM per JESD22-A114, 200 V MM per JESD22-A115 and 1000 V CDM per JESD22-C101
  • Latch-up testing is done to JEDEC Standard JESD78 which exceeds 100 mA
  • Packages offered: SO8, TSSOP8 (MSOP8), HVSON8

Buy/Parametrics










































































































Documentation

Quick reference to our documentation types

10 documents

Compact List

Application Note (2)
Brochure (1)
Data Sheet (1)
Package Information (2)
Packing Information (2)
User Guide (2)

Design Files

Quick reference to our design files types.

4 design files

Engineering Services

1 engineering service

To find additional partner offerings that support this product, visit our Partner Marketplace.

Support

What do you need help with?