40-Bit Fm+ I2C-Bus Advanced I/O Port with RESET, OE and INT

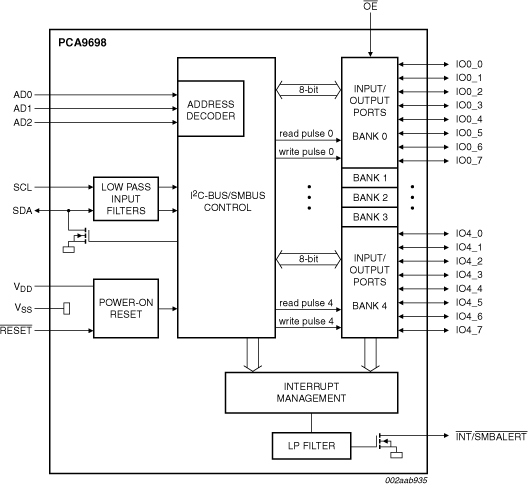
Block Diagram

Choose a diagram:

PCA9698 Block Diagram

PCA9698 Block Diagram

PCA9698BS, PCA9698DGG Block Diagram

Features

Key Features

  • 1 MHz fast-mode plus I²C-bus serial interface
  • Compliant with I²C-bus fast-mode (400 kHz) and standard-mode (100 kHz)
  • 2.3 V to 5.5 V operation with 5.5 V tolerant I/Os
  • 40 configurable I/O pins that default to inputs at power-up
  • Active LOW SMBus alert (SMBALERT) output pin allows to initiate SMBus 'alert response address' sequence. Own target address sent when sequence initiated
  • Active LOW reset (RESET) input pin resets device to power-up default state
  • GPIO all call address allows programming of more than one device at the same time with the same parameters
  • 64 programmable target addresses using 3 address pins
  • Readable device ID (manufacturer, device type and revision)
  • Designed for live insertion in PICMG applications
  • Low standby current
  • -40 °C to +85 °C operation
  • ESD protection exceeds 2000 V HBM per JESD22-A114, 200 V MM per JESD22-A115 and 1000 V CDM per JESD22-C101
  • Latch-up testing is done to JEDEC Standard JESD78 which exceeds 100 mA
  • Packages offered: TSSOP56 and HVQFN56

Inputs

  • Open-drain active LOW Interrupt (INT) output pin allows monitoring of logic level change of pins programmed as inputs
  • Programmable interrupt mask control for input pins that do not require an interrupt when their states change
  • Polarity inverter register allows inversion of the polarity of the I/O pins when read

PICMG Applications

  • Minimize line disturbance (IOFF and power-up 3-state)
  • Signal transient rejection (50 ns noise filter and robust I²C-bus state machine)

Buy/Parametrics










































































































Documentation

Quick reference to our documentation types

1-10 of 12 documents

Compact List

Application Note (3)
Brochure (1)
Data Sheet (1)
Package Information (2)
Packing Information (2)
Supporting Information (1)
User Guide (2)

Design Files

Quick reference to our design files types.

1 design file

Engineering Services

1 engineering service

To find additional partner offerings that support this product, visit our Partner Marketplace.

Support

What do you need help with?