88MW32X 802.11n Wi-Fi® Microcontroller SoC

Block Diagram

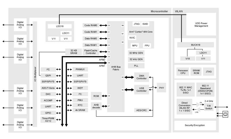
88MW32X Block Diagram

88MW32X Block Diagram

Features

  • Amazon Alexa Voice Service (AVS) supported
  • Highly integrated SoC requiring very few external components for a full system operation
  • Multiple low-power modes and fast wake-up times
  • Full-featured, single stream 802.11n/g/b WLAN
  • Improved typical RF performance
  • High-efficiency PA with a low-power (10 dB) mode
  • Cortex®-M4F application CPU for applications with integrated 512KB SRAM and 128 KB mask ROM
  • Flash Controller with embedded 32 KB SRAM cache to support XIP from external SPI Flash
  • Secure boot
  • Unique hardware bit to authenticate SDK with the chipset
  • Full set of digital and analog I/O interfaces

Buy/Parametrics










































































































Documentation

Quick reference to our documentation types

10 documents

Compact List

Application Note (3)
Data Sheet (1)
Fact Sheet (1)
Technical Notes (2)
User Guide (2)
User Manual (1)

Design Files

Quick reference to our design files types.

4 design files

Hardware

Quick reference to our board types.

1-5 of 7 hardware offerings

Show All

Software

Quick reference to our software types.

2 software files

Note: For better experience, software downloads are recommended on desktop.

Engineering Services

1-5 of 6 engineering services

Show All

To find additional partner offerings that support this product, visit our Partner Marketplace.

Training

1 trainings

Support

What do you need help with?