Single-chip 16-bit/32-bit microcontrollers; 8 kB/16 kB/32 kB flash with ISP/IAP, fast ports and 10-bit ADC

  • This page contains information on a product that is not recommended for new designs.

See product image

Product Details

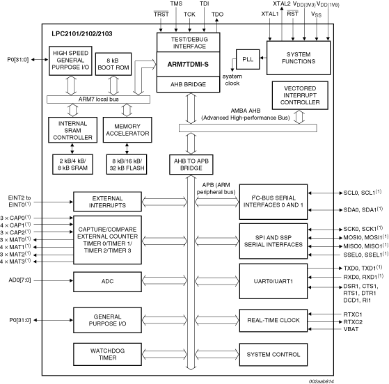
Block Diagram

Block diagram: LPC2101FBD48, LPC2102FBD48, LPC2102FHN48, LPC2103FBD48, LPC2103FHN48

Features

Enhanced features

Enhanced features are available in parts LPC2101/02/03 labelled Revision A and higher:

  • Deep power-down mode with option to retain SRAM memory and/or RTC.
  • Three levels of flash Code Read Protection (CRP) implemented.

Key features

  • 16-bit/32-bit Arm7TDMI-S microcontroller in tiny LQFP48 and HVQFN48 packages.
  • 2 kB/4 kB/8 kB of on-chip static RAM and 8 kB/16 kB/32 kB of on-chip flash program memory. 128-bit wide interface/accelerator enables high-speed 70 MHz operation.
  • ISP/IAP via on-chip bootloader software. Single flash sector or full chip erase in 100 ms and programming of 256 bytes in 1 ms.
  • EmbeddedICE-RT offers real-time debugging with the on-chip RealMonitor software.
  • The 10-bit ADC provides eight analog inputs, with conversion times as low as 2.44 us per channel and dedicated result registers to minimize interrupt overhead.
  • Two 32-bit timers/external event counters with combined seven capture and seven compare channels.
  • Two 16-bit timers/external event counters with combined three capture and seven compare channels.
  • Low power Real-Time Clock (RTC) with independent power and dedicated 32 kHz clock input.
  • Multiple serial interfaces including two UARTs (16C550), two Fast I²C-buses (400 kbit/s), SPI and SSP with buffering and variable data length capabilities.
  • Vectored interrupt controller with configurable priorities and vector addresses.
  • Up to thirty-two, 5 V tolerant fast general purpose I/O pins.
  • Up to 13 edge or level sensitive external interrupt pins available.
  • 70 MHz maximum CPU clock available from programmable on-chip PLL with a possible input frequency of 10 MHz to 25 MHz and a settling time of 100 us.
  • On-chip integrated oscillator operates with an external crystal in the range from 1 MHz to 25 MHz.
  • Power saving modes include Idle mode, Power-down mode with RTC active, and Power-down mode.
  • Individual enable/disable of peripheral functions as well as peripheral clock scaling for additional power optimization.
  • Processor wake-up from Power-down and Deep power-down (Revision A and higher) mode via external interrupt or RTC.

Buy/Parametrics










































































































Documentation

Quick reference to our documentation types

1-10 of 23 documents

Compact List

Application Note (17)
Data Sheet (1)
Errata (1)
Package Information (1)
Supporting Information (2)
User Guide (1)

Design Resources

Design Files

Quick reference to our design files types.

1 design file

Support

What do you need help with?