Single-chip 16-bit/32-bit MCU; up to 128 kB flash with ISP/IAP, Ethernet, USB 2.0 device/host/OTG, CAN, and 10-bit ADC/DAC

  • This page contains information on a product that is not recommended for new designs.

See product image

Product Details

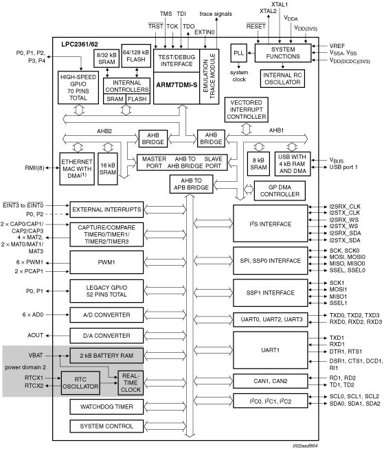
Block Diagram

Block diagram: LPC2361FBD100, LPC2362FBD100

Features

  • Arm7TDMI-S processor, running at up to 72 MHz.
  • Up to 128 kB on-chip flash program memory with In-System Programming (ISP) and In-Application Programming (IAP) capabilities. Flash program memory is on the Arm local bus for high performance CPU access.
  • 8 kB (LPC2361) or 32 kB (LPC2362) of SRAM on the Arm local bus for high performance CPU access.
  • 16 kB SRAM for Ethernet interface. Can also be used as general purpose SRAM.
  • 8 kB SRAM for general purpose DMA use also accessible by the USB.
  • Dual Advanced High-performance Bus (AHB) system that provides for simultaneous Ethernet DMA (LPC2362 only), USB DMA, and program execution from on-chip flash with no contention between those functions. A bus bridge allows the Ethernet DMA to access the other AHB subsystem.
  • Advanced Vectored Interrupt Controller (VIC), supporting up to 32 vectored interrupts.
  • General Purpose DMA controller (GPDMA) on AHB that can be used with the SSP serial interfaces, the I²S port, as well as for memory-to-memory transfers.
  • Serial interfaces:
    • Ethernet MAC with associated DMA controller (LPC2362 only). These functions reside on an independent AHB.
    • USB 2.0 device/host/OTG with on-chip PHY and associated DMA controller.
    • Four UARTs with fractional baud rate generation, one with modem control I/O, one with IrDA support, all with FIFO.
    • CAN controller with two channels.
    • SPI controller.
    • Two SSP controllers, with FIFO and multi-protocol capabilities. One is an alternate for the SPI port, sharing its interrupt and pins. These can be used with the GPDMA controller.
    • Three I²C-bus interfaces (one with open-drain and two with standard port pins).
    • I²S (Inter-IC Sound) interface for digital audio input or output. It can be used with the GPDMA.
  • Other peripherals:
    • 70 general purpose I/O pins with configurable pull-up/down resistors.
    • 10-bit ADC with input multiplexing among 6 pins.
    • 10-bit DAC.
    • Four general purpose timers/counters with a total of 8 capture inputs and 10 compare outputs. Each timer block has an external count input.
    • One PWM/timer block with support for three-phase motor control. The PWM has two external count inputs.
    • Real-Time Clock (RTC) with separate power pin, clock source can be the RTC oscillator or the APB clock.
    • 2 kB SRAM powered from the RTC power pin, allowing data to be stored when the rest of the chip is powered off.
    • WatchDog Timer (WDT). The WDT can be clocked from the internal RC oscillator, the RTC oscillator, or the APB clock.
  • Standard Arm test/debug interface for compatibility with existing tools.
  • Emulation trace module supports real-time trace.
  • Single 3.3 V power supply (3.0 V to 3.6 V).
  • Four reduced power modes: idle, sleep, power-down, and deep power-down.
  • Four external interrupt inputs configurable as edge/level sensitive. All pins on PORT0 and PORT2 can be used as edge sensitive interrupt sources.
  • Processor wake-up from Power-down mode via any interrupt able to operate during Power-down mode (includes external interrupts, RTC interrupt, USB activity, Ethernet wake-up interrupt).
  • Two independent power domains allow fine tuning of power consumption based on needed features.
  • Each peripheral has its own clock divider for further power saving.
  • Brownout detect with separate thresholds for interrupt and forced reset.
  • On-chip power-on reset.
  • On-chip crystal oscillator with an operating range of 1 MHz to 25 MHz.
  • 4 MHz internal RC oscillator trimmed to 1 % accuracy that can optionally be used as the system clock. When used as the CPU clock, does not allow CAN and USB to run.
  • On-chip PLL allows CPU operation up to the maximum CPU rate without the need for a high frequency crystal. May be run from the main oscillator, the internal RC oscillator, or the RTC oscillator.
  • Versatile pin function selections allow more possibilities for using on-chip peripheral functions.

Target Applications

  • Industrial control
  • Medical systems
  • Protocol converter
  • Communications

Buy/Parametrics










































































































Documentation

Quick reference to our documentation types

1-10 of 16 documents

Compact List

Application Note (6)
Brochure (3)
Data Sheet (1)
Errata (2)
Package Information (1)
Supporting Information (2)
User Guide (1)

Design Resources

Design Files

Quick reference to our design files types.

2 design files

Software

Quick reference to our software types.

2 software files

Note: For better experience, software downloads are recommended on desktop.

Support

What do you need help with?