16/32-bit Arm® microcontrollers; flashless, with 10-bit ADC and external memory interface

  • This page contains information on a product that is not recommended for new designs.

See product image

Product Details

Block Diagram

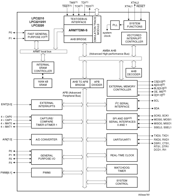
Block diagram: LPC2210FBD144, LPC2220FBD144, LPC2220FET144

Features

  • 16/32-bit Arm7TDMI-S microcontroller in a LQFP144 and TFBGA144 package.
  • 16/64 kB on-chip static RAM (LPC2210/2220).
  • Serial bootloader using UART0 provides in-system download and programming capabilities.
  • EmbeddedICE-RT and Embedded Trace interfaces offer real-time debugging with the on-chip RealMonitor software as well as high-speed real-time tracing of instruction execution.
  • Eight channel 10-bit ADC with conversion time as low as 2.44 us.
    • LPC2210/01 and LPC2220 only: Dedicated result registers for ADC(s) reduce interrupt overhead. The ADC pads are 5 V tolerant when configured for digital I/O function(s).
  • Two 32-bit timers (LPC2220 and LPC2210/01 also external event counters) with four capture and four compare channels, PWM unit (six outputs), Real-Time Clock (RTC), and watchdog.
  • Multiple serial interfaces including two UARTs (16C550), Fast I²C-bus (400 kbit/s) and two SPIs.
    • LPC2210/01 and LPC2220 only: A Synchronous Serial Port (SSP) with data buffers and variable length transfers can be selected to replace one SPI.
    • LPC2210/01 and LPC2220 only: UART0/1 include fractional baud rate generator, auto-bauding capabilities, and handshake flow-control fully implemented in hardware.
  • Vectored Interrupt Controller (VIC) with configurable priorities and vector addresses.
  • Configurable external memory interface with up to four banks, each up to 16 MB and 8/16/32-bit data width.
  • Up to 76 general purpose pins (5 V tolerant) capable. Up to nine edge/level sensitive external interrupt pins available.
    • LPC2210/01 and LPC2220 only: Fast GPIO ports enable port pin toggling up to 3.5 times faster than the original device. They also allow for a port pin to be read at any time regardless of its function.
  • 60 MHz (LPC2210) and 75 MHz (LPC2210/01 and LPC2220) maximum CPU clock available from programmable on-chip Phase-Locked Loop (PLL) with settling time of 100 us.
  • On-chip integrated oscillator operates with external crystal in range of 1 MHz to 25 MHz and with external oscillator up to 25 MHz.
  • Power saving modes include Idle and Power-down.
  • Processor wake-up from Power-down mode via external interrupt.
  • Individual enable/disable of peripheral functions for power optimization.
  • Dual power supply:
    • CPU operating voltage range of 1.65 V to 1.95 V (1.8 V +- 0.15 V).
    • I/O power supply range of 3.0 V to 3.6 V (3.3 V +- 10 pct) with 5 V tolerant I/O pads. 16/32-bit Arm7TDMI-S processor.

Buy/Parametrics










































































































Documentation

Quick reference to our documentation types

1-10 of 29 documents

Compact List

Application Note (21)
Brochure (1)
Data Sheet (1)
Errata (1)
Package Information (1)
Supporting Information (3)
User Guide (1)

Design Resources

Design Files

Quick reference to our design files types.

1 design file

Software

Quick reference to our software types.

1 software file

Note: For better experience, software downloads are recommended on desktop.

Support

What do you need help with?