Single-chip 16/32-bit microcontroller; 256 kB ISP/IAP flash with 10-bit ADC and CAN

  • This page contains information on a product that is not recommended for new designs.

See product image

Product Details

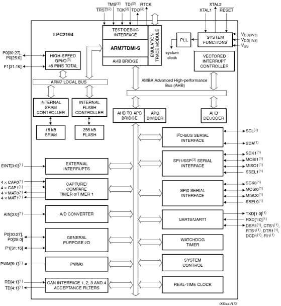
Block Diagram

Block diagram: LPC2194HBD64

Features

2.1 Key features brought by LPC2194/01 devices
  • Fast GPIO ports enable port pin toggling up to 3.5 times faster than the original device. They also allow for a port pin to be read at any time regardless of its function.
  • Dedicated result registers for ADC(s) reduce interrupt overhead. The ADC pads are 5 V tolerant when configured for digital I/O function(s).
  • UART0/1 include fractional baud rate generator, auto-bauding capabilities and handshake flow-control fully implemented in hardware.
  • Buffered SSP serial controller supporting SPI, 4-wire SSI, and Microwire formats.
  • SPI programmable data length and leader mode enhancement.
  • Diversified Code Read Protection (CRP) enables different security levels to be implemented. This feature is available in LPC2194/00 devices as well.
  • General purpose timers can operate as external event counters.

2.2 Key features common for all devices

  • 16/32-bit Arm7TDMI-S microcontroller in a tiny LQFP64 package.
  • 16 kB on-chip SRAM and 256 kB on-chip flash program memory. 128-bit wide interface/accelerator enables high speed 60 MHz operation.
  • In-System Programming (ISP) and In-Application Programming (IAP) via on-chip bootloader software. Flash programming takes 1 ms per 512 B line. Single sector or full chip erase takes 400 ms.
  • EmbeddedICE-RT and Embedded Trace interfaces offer real-time debugging with on-chip RealMonitor software as well as high speed real-time tracing of instruction execution.
  • Four interconnected CAN interfaces with advanced acceptance filters. Additional serial interfaces are two UARTs (16C550), Fast I²C-bus (400 kbit/s) and two SPIs.
  • Four channel 10-bit ADC with conversion time as low as 2.44 µs.
  • Two 32-bit timers (with four capture and four compare channels), PWM unit (six outputs), Real-Time Clock and Watchdog.
  • Vectored Interrupt Controller with configurable priorities and vector addresses.
  • Up to forty-six 5 V tolerant general purpose I/O pins. Up to nine edge or level sensitive external interrupt pins available.
  • Operating temperature range from -40 °C to +125 °C.
  • 60 MHz maximum CPU clock available from programmable on-chip Phase-Locked Loop with settling time of 100 µs.
  • On-chip crystal oscillator with an operating range of 1 MHz to 30 MHz.
  • Two low power modes, Idle and Power-down.
  • Processor wake-up from Power-down mode via external interrupt.
  • Individual enable/disable of peripheral functions for power optimization.
  • Dual power supply:
    • CPU operating voltage range of 1.65 V to 1.95 V (1.8 V ± 0.15 V).
    • I/O power supply range of 3.0 V to 3.6 V (3.3 V ± 10 %) with 5 V tolerant I/O pads.

Buy/Parametrics










































































































Documentation

Quick reference to our documentation types

1-10 of 20 documents

Compact List

Application Note (14)
Data Sheet (1)
Errata (2)
Package Information (1)
Supporting Information (1)
User Guide (1)

Design Resources

Design Files

Quick reference to our design files types.

1 design file

Support

What do you need help with?